Cañón Arisaka de 107 mm. Meiji 38 (Modelo 1905 Ref).

 

Modificado en Junio de 2015

 

Esta es otra de las piezas artilleras que llegaron a España vía la Unión Soviética, es decir, pagadas con oro del bueno, que llevaban sobre "su cureña" varios conflictos previos.

Diseñadas inicialmente por la casa alemana Krupp, recibió la denominación en la artillería de ese país como "10 cm Kanone M1904 (k04)" y fue ampliamente utilizada durante la 1ª Guerra Mundial siendo, al inicio de la contienda, una las piezas con mayor alcance.

En 1905 Japón compró a la casa Krupp la patente de esta pieza artillera, pero realizó sobre ella una serie de modificaciones. La primera, cambio el típico cierre de cuña de la casa Krupp, por un cierre de tornillo, sistema del que eran partidarios los militares japoneses, también aligeró su cureña, amplio la elevación del cañon y modificó los muelles recuperadores. En Japón esta pieza fue reglamentaria hasta la 2ª Guerra Mundial, donde pronto quedó obsoleta y pasó a ser utilizada como artillería de costa.

En 1914, Rusia encargó a Japón 120 piezas de este modelo de cañón, pero, el comprador exigió que se cambiara el calibre y el tamaño de la recamara al objeto de hacer compatible la munición de 107 mm que ya tenía y que era usadas por otras piezas. Así nació el cañón de 42 líneas modelo 1905, también conocido como Cañón Arisaka de 107 mm, modelo 1905 reformado (Meiji 38 en el calendario nipón). Estas piezas de artillería fueron entregadas a Rusia en los años 1916 y 1917 y además de ser utilizadas durante la 1ª Guerra Mundial, fueron uadas por ambos bandos durante la sangrienta guerra civil que se produjo en tras la revolución de 1917. Al menos sobrevivieron al conflicto 85 unidades ya que figuraban en los estadillos soviéticos en 1936.

Cuando estalló la Guerra Civil Española y la necesidad de material bélico se hizo perentoria, la Unión Soviética vendió 74 de esas piezas a la Republica Española. Según los estudios del investigador Artemio Mortera, las primeras 40 unidades llegaron a Cartagena en el vapor "Ciudad de Cadiz" el 11 de mayo de 1937, posteriormente, vía Francia que las había recibido en el barco "Ain el Turk" en enero del 38 y finalmente en enero del 39, los 14 restantes.

Debido al alcance de esta pieza, sobre los 11 kilómetros, fue utilizada por la artillería republicana principalmente como pieza de contrabateria, sobre todo en el frente de Madrid, donde apreciaban sus bondades pero donde también señalaban algún inconveniente, como el escrito en 1937 por el entonces Comandante Fernando Casado, Comandante General de la Artillería del Ejercito de Centro en un informe sobre la artillería del Ejército de Centro: "El cañón de 107 para alcanzar 11 km requiere obras de enterramiento de reja y, por tanto, no tiene agilidad para cambio de objetivos rápidos. Algunas piezas, al ser recibidas en este Ejército, ya presentaban fisuras y erosiones".

Combatieron en todos los frentes y al final de la Guerra fueron recuperados por el Ejercito Nacional 31 de ellas y durante la guerra capturadas al menos 3 piezas más.

Y finalmente nos hacemos una pregunta: ¿Qué pasó con ellas?. Pues lo mas probable es que fueran achatarradas como tantas otras piezas de artillería, pero en este caso conocemos el destino, al menos, de dos de ellas. Según nos informa José Cervera Pery, en un trabajo  titulado "Guinea: De la guardia colonial a la guarnición militar española (1939-1968)" que aparece publicado en el libro "Los Ejércitos del franquismo" editado por la Fundación General Gutiérrez Mellado en 2010, en 1942 fueron emplazadas en la Isla de Fernando Poo dos piezas de 107 mm., junto a 8 cañones de 70 mm., nuestras queridas Nicanoras, dos cañones de 76,2 mm., 18 cañones contracarro de 37 mm. y 8 morteros de 81 mm.,  con la intención de reforzar la presencia española durante la 2ª Guerra Mundial en nuestra Colonia de Guinea. Su suerte posterior nos es desconocida.

Según la excelente página www.landship.info se conservan dos piezas en Museos Militares, una de ellas recientemente restaurada. La primera en el Museo de Artillería de San Petersburgo y la segunda en el Museo Militar de Lesany a 20 kilómetros de Praga en la Republica Checa. Por cierto esta ultima pieza tiene un curioso origen. Fue una de las piezas con las que se armó la Legión Checa durante la guerra civil rusa y llevada a si país, via Vladivostok en 1920.

Exponemos varias de las fotos del cañón existente en el Museo de la Republica Checa sacadas del trabajo de Charlie Clelland que se publica en www.landship.info (hay mas fotos en esa web, por lo tanto recomendamos su visita). Todos los derechos son de esa página y les damos las gracias por hacerlas públicas para uso no comercial. En la foto inferior derecha, se puede leer la leyenda que aparece grabada sobre el cañón. Esta es su traducción que hemos sacado de la citada página web: Cañón de 42 líneas de fuego rápido, modelo 1905, número de canon 115, año 1917, Arsenal de la Armada in Kure, Japón.

 

 

 

 

Para ver las fotos en detalle, pulsa sobre ellas.

 
 
 

 

MUNICIÓN UTILIZADA

 

Proyectil rompedor, calibre 107 mm de origen ruso con espoleta 3GT

Fotografía enviada por Belenos

PROYECTIL ROMPEDOR

 
  • Peso con espoleta: 16.380 gr.
  • Altura con espoleta: 404 mm
  • Carga explosiva: 2 Kgr. de TNT.
  • Peso total del cartucho: 21.780 gr.
  • Altura total del cartucho: 796 mm
  • Espoleta: UGT-2

 

PROYECTIL ROMPEDOR

 
  • Peso con espoleta: 16.280 gr.
  • Altura con espoleta: 408 mm
  • Carga explosiva: 2.300 gr. de TNT.
  • Peso total del cartucho: 21.680 gr.
  • Altura total del cartucho: 798
  • Espoleta: 3GT

 

PROYECTIL ROMPEDOR

 

  • Peso con espoleta: 15.390 gr.
  • Altura con espoleta: 418 mm
  • Carga explosiva: 1.50 gr. de TNT.
  • Peso total del cartucho: 20.790 gr.
  • Altura total del cartucho: 804 mm.
  • Espoleta: 3GT

 

PROYECTIL DE METRALLA

 

 
  • Peso con espoleta: 15.585 gr.
  • Altura con espoleta: 374 mm
  • Carga explosiva: 188 gr. de pólvora ordinaria
  • Peso total del cartucho: 21.985 gr.
  • Altura total del cartucho: 760 mm
  • Espoleta: Doble efecto rusa de 45 divisiones

PROYECTIL DE METRALLA

  • Peso con espoleta: 16.500 gr.
  • Altura con espoleta: 374 mm
  • Carga explosiva: Pólvora ordinaria
  • Peso total del cartucho: 21.900 gr.
  • Altura total del cartucho: 764 mm
  • Espoleta: Doble efecto rusa de 

 

 

 

Imágenes aportadas por Miguel R. Gracias en nombre de todos. Para verlas en detalle, pulsa sobre ellas.

 

CARACTERÍSTICAS DE LA VAINA:
  • Altura: 442 mm.
  • Peso: 3.190 gr.
  • Diámetro máximo: 113 mm.
  • Diámetro mínimo: 109 mm.
  • Diámetro de la pestaña: 122,3 mm.

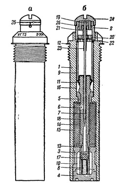
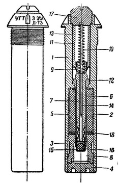
ESPOLETA DE DOBLE EFECTO DE 45 DIVISIONES, DE ORIGEN RUSO

  • Es de latón, menos los reguladores, que son de aluminio. Lleva marcadas 45 divisiones, que se consideran segundos. La marca Y señala el tiro a percusión.
  • Se emplea en las granadas de metralla de 107 milímetros.
  • Peso de la espoleta; 780 gr.
  • Altura: 91 mm.

ESPOLETA A PERCUSIÓN 3G.T.

  • Es de acero, y tiene un dispositivo de seguro contra explosiones prematuras del cebo
  • Se utiliza en las granadas rompedoras de 107 mm., 76,2 mm Schneider y otras muchas mientras que su capacidad interior lo permita.
  • Altura de la espoleta: 196 mm

ESPOLETA A PERCUSIÓN UGT-2

  • Es de acero, semejante a la UGT, pero va dotada de una caperuza que al quitarla hace su funcionamiento instantáneo.
  • Se utiliza en granadas de rompedoras con retardo o en instantáneas de 76 y 107 mm.
  • Altura de la espoleta: 180 mm

Si quieres aportar alguna cosa, o realizar alguna sugerencia, no dudes en escribir

Volver a la página inicial